Stainless steel safety valves ASTA P341

DN: 15 – 25 (1/2” – 1”)
PN: 40 bar
t max°: 220 °С
Body material: stainless steel
Connection: threaded R-Rc (inlet-outlet)

Overview

Safety valves ASTA series P341 and P361 are low-lift spring angle valves designed for automatic protection of equipment and pipelines from unacceptable excess pressure. The operating principle is based on the difference in the elastic deformation force of the spring and the force created by the pressure of the working medium. When the valve setting pressure is exceeded, the excess working medium is discharged. Mainly used to protect steam pipelines, pressure vessels (receivers, autoclaves, pasteurizers, etc.), piping of thermal power plants and other industrial equipment.


Model overview

Those. information

  • Non-gas-tight design
  • Forced detonation by lever
  • Metal-to-metal shutter seal
  • Gas-tight design without detonation*
  • Soft shutter seal (PTFE/Silicone)*
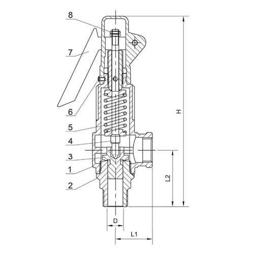
Design


Name П341 П361
1BodyStainless steel SS304Brass CuSn5ZnPb
2SeatStainless steel SS316Brass CuZn40Pb2
3PlungerStainless steel SS316Brass CuZn40Pb2
4PlungerStainless steel SS304Brass CuZn40Pb3
5SpringStainless steel SS304Steel 65Mn
6ScrewStainless steel SS304Carbon steel Q235
7LeverStainless steel SS304Carbon steel Q235
8Lock NutSS304 Stainless SteelQ235 Carbon Steel

Download

Colors

DOP

More in this category:

Need a consultation?

We will tell you in detail about our services, types of work and typical projects, calculate the cost and prepare an individual offer!