Thermostatic capsule condensate traps ASTA KT371

DN: 15
PN: 16 bar
t max°: 250 °С
Body material: bronze
Connection: threaded

Overview

ASTA KT THERMOKON is a thermostatic capsule steam trap designed for efficient condensate drainage from steam lines.
The operating principle is based on the temperature difference between steam and condensate. The temperature change causes the liquid to boil/condense inside the capsule connected to the outlet valve, which allows non-condensable gases and condensate to be drained below the saturation temperature.
It is mainly used for drainage of steam traps, autoclaves, cooking boilers, vulcanizers, heating equipment, etc.

Advantages

  • Compact dimensions
  • Removal of pre-cooled condensate
  • Resistance to water hammer
  • Air removal
  • Built-in filter

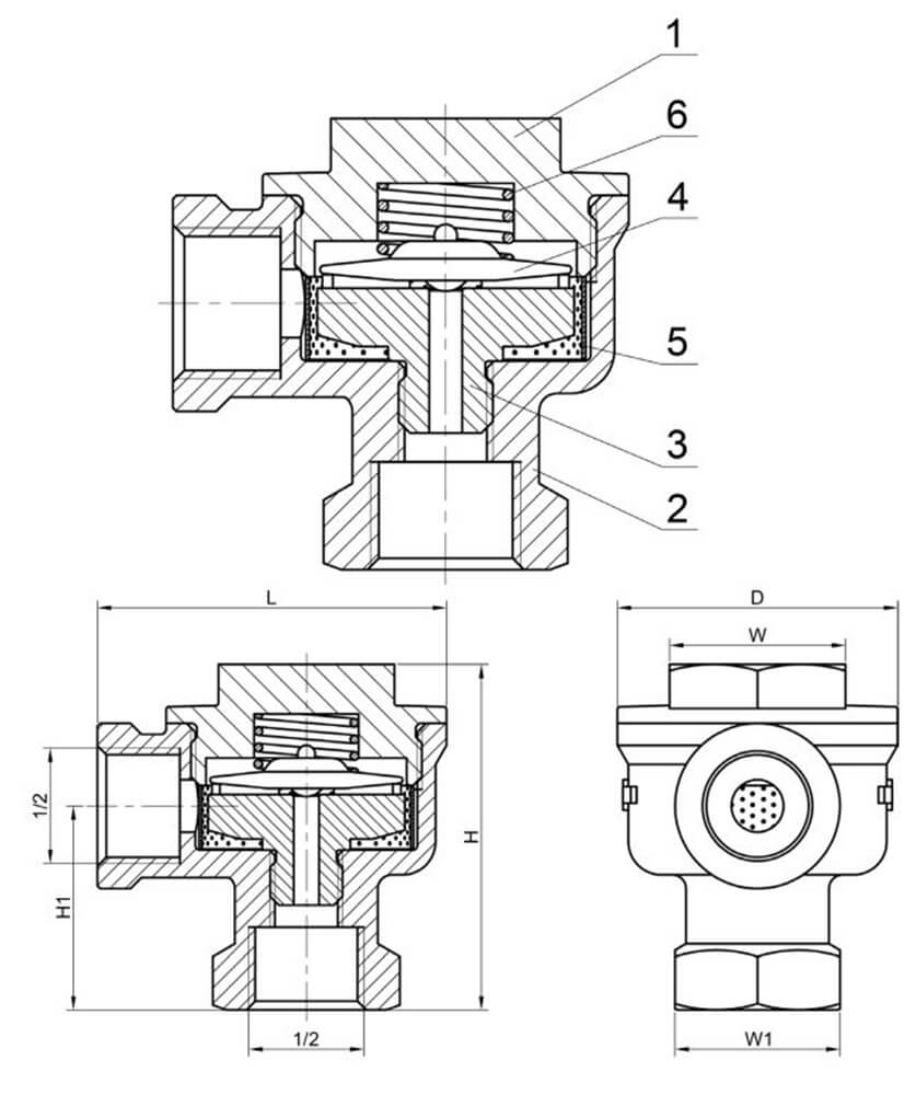
Model overview

Those. information

Nominal diameter DN 15 (½”)
Nominal pressure PN 16 bar
Maximum working pressure 13 bar
Maximum temperature of the working medium Tmax Up to 250 °C
Working medium Water vapor
Location on the pipeline Horizontal (cover up)
Type connections Internal thread G
Name Material
1 Cover Bronze BrA9Zh3L
2 Body Bronze BrA9Zh3L
3 Saddle Stainless steel 12Х18Н10Т
4 Capsule Stainless steel 12Х18Н10Т
5 Filter Stainless steel 12Х18Н10Т
6 Spring Stainless steel 12Х18Н10Т

Download

Colors

DOP

More in this category:

Need a consultation?

We will tell you in detail about our services, types of work and typical projects, calculate the cost and prepare an individual offer!