Shut-off valve with bellows seal ACTA B313

DN: 15-300
PN: 16 bar
t max°: 300 °С
Body material: Grey cast iron GG25
Connection: flanged

Overview

Valves are shut-off valves designed to shut off the flow of a medium in pipelines of various systems: process, steam condensate, water and heat supply.

Design features

  • Metal-to-metal seal on the valve
  • Bellows seal on the stem, which does not require periodic maintenance
  • Emergency gland seal
  • Open/closed position indicator
  • Non-rising stem design

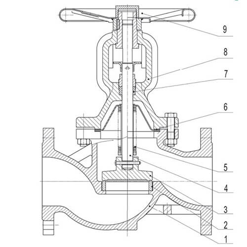
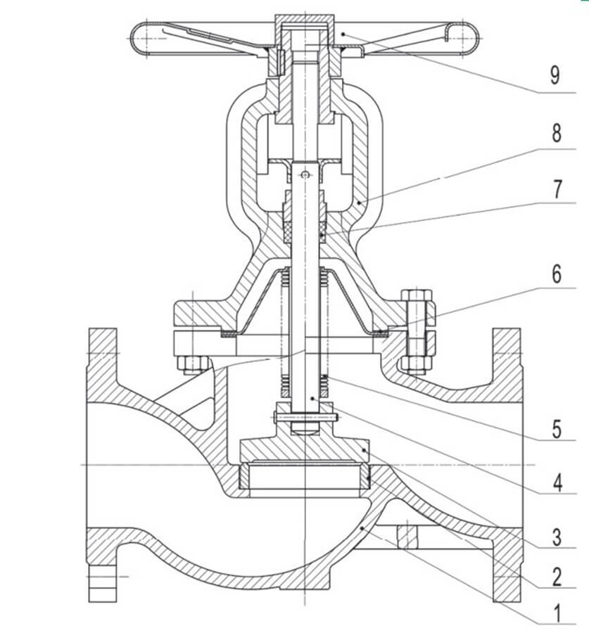
Model overview

Those. information

Nominal diameter DN15 – 300
Nominal pressure PN16 bar
Temperature of working mediumFrom –10 °С to 300 °С
Working mediumWater, steam, air and other media compatible with the valve construction materials
Connection typeThreaded G
Flanged according to GOST 33259-2015
Type controlThreaded G
Steering wheel — standard / Gearbox, electric drive — on request
No.NameMaterial
1BodyGrey cast iron GG25
2SaddleStainless steel 20X13
3PlungerStainless steel 20Х13
4RodStainless steel 20Х13
5Bellows08Х17Н13М2Т
6Body sealGraphite
7Rod sealGraphite
8Body coverHigh-strength cast iron GGG40
9Steering wheelCarbon steel

Download

Colors

DOP

More in this category:

Need a consultation?

We will tell you in detail about our services, types of work and typical projects, calculate the cost and prepare an individual offer!