Биметаллические конденсатоотводчики АСТА ТБ131 и ТБ133

Биметаллические конденсатоотводчики АСТА ТБ131 и ТБ133

DN: 15–50
PN: 40 бар
t max°: 220 °С
Материал корпуса: углеродистая сталь
Присоединение: резьбовое, фланцевое

Биметаллические конденсатоотводчики АСТА ТБ131 и ТБ133

Обзор

ТБ ТЕРМОКОН — термостатический биметаллический конденсатоотводчик, предназначенный для эффективного отвода конденсата из паровых линий.
Принцип действия основан на разности температур пара и  конденсата. Изменение температуры приводит к расширению/сжатию биметаллического элемента, соединенного с выпускным клапаном, что позволяет отводить неконденсируемые газы и конденсат ниже температуры насыщения.
Преимущественно применяется для дренажа паропроводов перегретого пара, паровых регистров, пароспутников, отопительного оборудования и др.

Преимущества

  • Отвод доохлажденного конденсата
  • Компактные размеры
  • Непрерывный отвод конденсата
  • Устойчив к гидроударам и замерзанию
  • Встроенный фильтр
  • Конструкция плунжера с функцией «обратного клапана»

Обзор моделей

Тех. информация

Номинальный диаметр DN 15 – 25
Условное давление PN 40 бар
Максимальная температура рабочей среды Tmax До 220 °С
Рабочая среда Водяной пар
Расположение на трубопроводе Горизонтально, вертикально
Тип присоединения ТБ131 — Внутренняя резьба R
ТБ133 — Фланцевый по ГОСТ 33259-2015
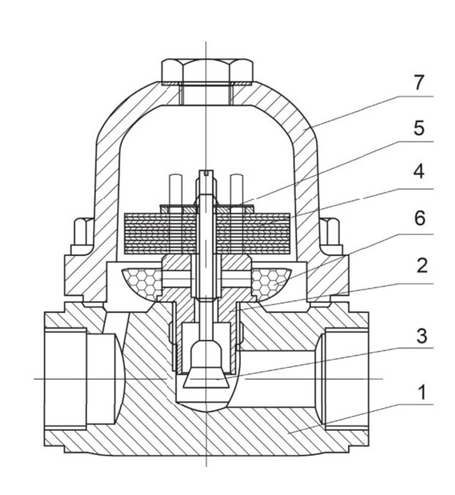
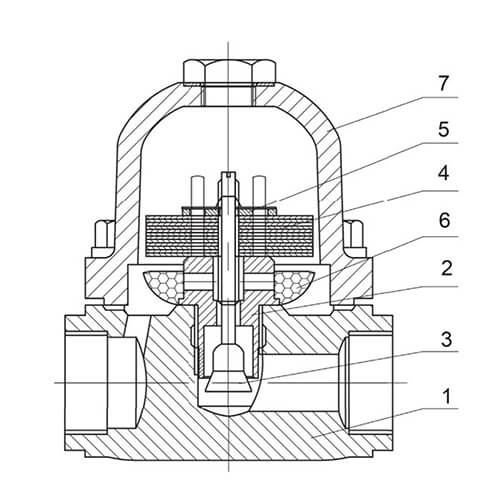
Наименование Материал
1 Корпус Cталь WCB
2 Седло Сталь 20Х13
3 Плунжер Сталь 20Х13
4 Биметаллический элемент Биметалл
5 Распорное кольцо Cталь AISI 304
6 Фильтр Cталь AISI 304
7 Крышка Cталь WCB

Скачать

Цвета

DOP, CAD

Еще в этой категории:

Нужна консультация?

Подробно расскажем о наших услугах, видах работ и типовых проектах, рассчитаем стоимость и подготовим индивидуальное предложение!