Регулятор давления «после себя» для пара АСТА серии Д123/РПС

Регулятор давления «после себя» для пара АСТА серии Д123/РПС

DN: 15 - 200
PN: 16 - 25
t max°: 200 °С
Материал корпуса: высокопрочный чугун ВЧ40
Присоединение: фланцевое

Регулятор давления «после себя» для пара АСТА серии Д123/РПС

Обзор

АСТА Д100 ― односедельный клапан прямого действия, предназначен для автоматического поддержания заданного давления рабочей среды, принцип действия которого основан на уравновешивании силы упругой деформации настроечной пружины и силы, создаваемой разностью давлений в камерах мембранного привода.

Особенности конструкции

  • Модульная конструкция ― универсальный клапан, совместимый с различными типами регулирующих блоков
  • Модернизированная конструкция разгрузочной камеры затвора
  • Сниженная величина зоны нечувствительности
  • Разъемное соединение штока регулирующего блока исключает повреждения при транспортировке
  • Полная ремонтопригодность без демонтажа с трубопровода
  • Регулятор поставляется в комплекте с охладителем импульса и игольчатым вентилем

Опции по запросу

  • Специальная конструкция регулирующих блоков (различные мембраны, широкие диапазоны настроек и т. д.)
  • Нестандартные значения Kvs
  • Мягкое уплотнение затвора

Обзор моделей

Тех. информация

Номинальный диаметр DN15 – 200
Условное давление PN25 бар для DN 15– 80
16 бар для DN 100– 200
Температура рабочей средыОт -30°С до 200 °С
Рабочая средаПар, воздух, а также другие среды, совместимые с материалами конструкции регулятора
Диапазон давления настройки0,4-2,0 бар – красная пружина
1,0-8,0 бар – желтая пружина
4,0-12 бар – две пружины
Пропускная способность клапана, Kvs4,0 – 125 м3/ч
Класс герметичностиVI по ГОСТ 9544-2015
(уплотнение по затвору EPDM/PTFE)
III по ГОСТ 9544-2015
(уплотнение по затвору «металл-металл»)
Зона нечувствительностиНе более 2,5% от верхнего предела настройки по ГОСТ 11881-76
Зона пропорциональностиНе более 6% от верхнего предела настройки по ГОСТ 11881-76
Положение безопасностиНормально-открытое / нормально-закрытое
Компенсация давленияРазгруженный по давлению
Отбор импульса рабочей средыВнешний
Тип присоединенияФланцевый по ГОСТ 33259-2015, исп. В
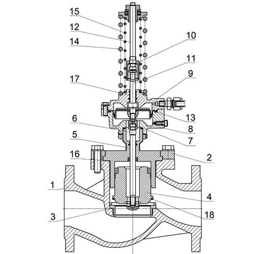
НаименованиеМатериал
1КорпусВысокопрочный чугун ВЧ40
2КрышкаСталь 25
3СедлоНержавеющая сталь 20Х13
4ПлунжерНержавеющая сталь 20Х13
5ВтулкаНержавеющая сталь 20Х13
6Шток нижнийНержавеющая сталь 20Х13
7МуфтаНержавеющая сталь 20Х13
8Крышка нижняяСерый чугун СЧ25
9Крышка верхняяСерый чугун СЧ25
10МуфтаНержавеющая сталь 20Х13
11Шток привода нижний Нержавеющая сталь 20Х13
12Шток привода верхнийНержавеющая сталь 20Х13
13МембранаEPDM
14Пружина большая (желтая)Сталь 60С2А
15Пружина малая (красная)Сталь 60С2А
16Уплотнение корпусаГрафлекс
17Уплотнение штокаPTFE / EPDM
18Уплотнение плунжераPTFE

Скачать

Цвета

DOP, CAD

Еще в этой категории:

Нужна консультация?

Подробно расскажем о наших услугах, видах работ и типовых проектах, рассчитаем стоимость и подготовим индивидуальное предложение!